Canon is using Iris watermarking to take photographer’s copyright protection to the next level.
. . . to provide an imaging apparatus that makes it possible to protect the copyright of photographic images by reliably acquiring biological information of a photographer . . . – US Patent Application No. 2008/0025574
Stories like the recent discovery of Rebekka Guðleifsdóttir’s stolen Flickr images that surfaced on iStockphoto make all photographers cringe. Many photographers go to great lengths to protect their images. Past attempted solutions include watermarks on the front of images. I can recall this practice from my childhood years with the Olan Mills studio gold embossing in the bottom corner.
More recently, in the digital age of photography, watermarking in Photoshop or other image editing software. While visible watermarks are common among a variety of photographers, invisible watermarks (“electronic or digital watermarks“), which are embedded in the image file, are somewhat less prevalent – but gaining ground and acceptance among photographers. Companies like Digimarc are pressing the digital watermark cause to protect photographer’s and other author’s data.
Camera companies are pushing forward as well. Stories like that of Rebekka Guðleifsdóttir help increase the desirability and demand for practical copyright solutions in modern digital photography.
Canon’s Iris Registration Patent
A recent Canon patent application (Pub. No.: US 2008/0025574 A1) reveals the next step in digital watermarking – Iris Registration.
The short and sweet of it?
- Turn the Mode dial to “REG”
- Choose between “REG 1” through “REG 5” (for up to 5 registered users)
- Put eye to viewfinder
- Look at display of center distance measurement point
- Press the shutter button
- Iris image captured
- Go shoot
Additional embedded info can be added later. All metadata will be added to images after you’re finished shooting in a collective manner and not for each image. The purpose of the collective tagging, if you will, is to refrain from hampering the camera’s speed (frames per second) while shooting.
Admittedly, I have glossed over the claims of this patent. You can take a look at some of the more specific terms of the patent in the quotes I’ve pulled from it below:
Summary
Another object of the present invention is to provide an imaging apparatus that makes it possible to protect the copyright of photographic images by reliably acquiring biological information of a photographer for the purpose of personal authentication and writing this photographer information to the image of a subject without affecting processing, and in a manner transparent to operation, at the time of photography.
According to the present invention, the foregoing object is attained by providing an imaging apparatus for taking an image of a subject by an image sensing device, comprising: registration means for allowing a photographer to register his/her own biological information in advance; storage means for storing the biological information; and personal-data recording means for recording the biological information in a photographic image.
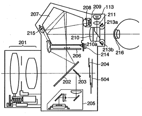
Iris Registration Mode Setup
In the iris registration mode, a registration number is selected by turning the electronic dial 103. When the electronic dial 103 is turned clockwise, the registration number changes as follows in dependence upon the amount of rotation (number of clicks of the dial): “REG-1″.fwdarw.”REG-2″.fwdarw.”REG-3″.fwdarw.”REG-4″.fwdarw.”REG-5”. The registration number is useful when a number of photographers use the camera. The number is made to correspond to registered content in such a manner that each photographer can register his/her iris information. The iris information of the photographer is registered in association with the registration number selected. The registration number is displayed on the liquid crystal panel 104 for displaying photographic information and on the LCD 214 in the viewfinder. A photographer can store iris information for any desired one of five registration number. This registration number is displayed on the liquid crystal panel 104 for displaying photographic information and on the LCD 214 in the viewfinder. An example of display of registration number is as shown in FIG. 6. The illustrated example shows the manner in which the display transitions from REG-1 to REG-5 in accordance with rotation of the electronic dial 103. “REG-1”, “REG-2”, “REG-3” are displayed in ordinary fashion, and REG-4, REG-5 are displayed in a flashing manner. This indicates that iris information has already been registered for REG-1 to REG-3, which are not flashing, and that nothing has been registered for “REG-4”, “REG-5”, which are flashing. A photographer can newly register iris information corresponding to a registration number that is flashing. However, if there is a registration number for which iris information has already been registered, this already registered iris information can be erased and new iris information stored in its place. If the electronic dial 103 is rotated one further click from the REG-5 indication, the display returns to “REG-1”. Registration numbers are displayed cyclically in accordance with rotation of the electronic dial 103 in this fashion. If the electronic dial 103 is rotated counter-clockwise, then the order in which the registration numbers are displayed is reversed.
Embedding Process
The photographic image (data) that has been recorded in the flash memory is written into the DRAM 511 temporarily, and the personal data that has also been read into the DRAM 511 is combined with or attached to the photographic image to thereby be written to the photographic image. After the personal data is written to the photographic image, a display indicating that removal of the memory card is permissible is presented on the liquid crystal panel 104 for display of photographic information, then the power supply is turned off following elapse of a fixed period of time (step S206).
More Embedding Details
As a result of the foregoing, biological information indicative of a photographer need not be acquired every time an image is taken and, hence, processing executed by the imaging apparatus is not subjected to a load in terms of the sequence of photography. Furthermore, biological information can be registered in advance. In a case where information inappropriate for personal authentication could only be acquired, therefore, it is possible to perform registration again. This makes it possible to acquire reliable biological information.
Further, registered biological information indicative of a photographer is recorded in a photographic image attendant upon an operation for turning off a power supply or removing a recording medium, or a command operation for transferring a photographic image to another image receiver, or an operation for reselecting other biological information from multiple items of biological information that have been registered. As a result, processing executed when an image is taken of a subject is not subjected to a load. In other words, congestion can be prevented by recording biological information at a timing at which an image is not being taken.
Further, by recording biological information as an image, coding means or an authentication unit necessary for personal authentication may be provided externally. This reduces the processing to be executed by the imaging apparatus.
Alternatively, by processing an acquired biological image into a personal authentication code and recording the code in the image of a subject, the amount of personal data serving as additional information may be reduced.
Alternatively, by embedding personal data which is biological information in the image of a subject as an electronic watermark, falsification can be prevented more robustly.
Alternatively, biological information may be processed into a personal authentication code and the code may be added on as an item of metadata. In a case where the image of a subject is handled by a third party, therefore, it is easier to deal with a photographer’s personal data as copyright information. At the same time, since it is unnecessary to apply processing to the image of a subject per se, there is no decline in image quality.
Further, many digital still cameras are equipped with a liquid crystal display panel in addition to a viewfinder. With a camera of this kind, the photographer can take an image while observing the display on the liquid crystal panel without looking into viewfinder. The camera of the illustrated embodiment is capable of combining personal information with captured digital image data even in a case where the camera takes images through this method.
Source – Pub. No.: US 2008/0025574 A1
Another object of the present invention is to provide an imaging apparatus that makes it possible to protect the copyright of photographic images by reliably acquiring biological information of a photographer for the purpose of personal authentication and writing this photographer information to the image of a subject without affecting processing, and in a manner transparent to operation, at the time of photography.
In the iris registration mode, a registration number is selected by turning the electronic dial 103. When the electronic dial 103 is turned clockwise, the registration number changes as follows in dependence upon the amount of rotation (number of clicks of the dial): “REG-1″.fwdarw.”REG-2″.fwdarw.”REG-3″.fwdarw.”REG-4″.fwdarw.”REG-5”. The registration number is useful when a number of photographers use the camera. The number is made to correspond to registered content in such a manner that each photographer can register his/her iris information. The iris information of the photographer is registered in association with the registration number selected. The registration number is displayed on the liquid crystal panel 104 for displaying photographic information and on the LCD 214 in the viewfinder. A photographer can store iris information for any desired one of five registration number. This registration number is displayed on the liquid crystal panel 104 for displaying photographic information and on the LCD 214 in the viewfinder. An example of display of registration number is as shown in FIG. 6. The illustrated example shows the manner in which the display transitions from REG-1 to REG-5 in accordance with rotation of the electronic dial 103. “REG-1”, “REG-2”, “REG-3” are displayed in ordinary fashion, and REG-4, REG-5 are displayed in a flashing manner. This indicates that iris information has already been registered for REG-1 to REG-3, which are not flashing, and that nothing has been registered for “REG-4”, “REG-5”, which are flashing. A photographer can newly register iris information corresponding to a registration number that is flashing. However, if there is a registration number for which iris information has already been registered, this already registered iris information can be erased and new iris information stored in its place. If the electronic dial 103 is rotated one further click from the REG-5 indication, the display returns to “REG-1”. Registration numbers are displayed cyclically in accordance with rotation of the electronic dial 103 in this fashion. If the electronic dial 103 is rotated counter-clockwise, then the order in which the registration numbers are displayed is reversed.

Let’s say I steal the camera and take a lot of illegal pictures … child porn. And there are all those pictures, with someone else’s digital ID in them.
Great forensics tool … or maybe not.
As we get closer to regularly using iris scans, etc. for security, wouldn’t this potentially be a boon for identity theft? Extracting that iris metadata from a digital photo will surely be figured out by hackers pretty quickly – and could then be used to gain access to other personal information. Anything that embeds personal information in a medium that can be so freely distributed as a jpeg image has as many cons as pros.
I hacker or an expert thief could really make some good use of this new technology.
for example:
John works in this company, which he uses his eye scan to gain certain access.
A hacker could follow him for many days, and one weekend day, while taking his kids to the park, the hacker comes to him and ask him to take a picture for him.
in that process he could hack the camera to scan his iris and then later use it to gain access in the company he uses…
haha
sound kind of science fiction right?
but u never know.
That sounds very interesting… Eye-based biometric photo watermarking system. Realy great solution for paranoid photographers ;) I’d rather not want to store and spread my biometric data, why would i? I dont believe that anyone needs such ways to “protect” themselves. Storing this kind of info obviously has nothing to do with authenticating that image wasnt manipulated, and you could authenticate ownership by embeding something less private. Whats the next step? Our DNA encoded in open-id? :D In my opinion these kind of stuff somehow just makes us closer to Orwell’s Nineteen Eighty-four.
cheers,
pg
http://www.stagephotos.net
This is really an interesting post, I’ve learned many things, thanks for sharing! :)
which particular canon model is this?
It’s just a patent. It hasn’t been released in a camera . . . yet.
That is just some incredible stuff… what you can add to meta data, unreal
Hi
As a fresh http://www.photographybay.com user i just want to say hello to everyone else who uses this board :-)